В России разработали дронов-полицейских с перцовым баллончиком и громкоговорителем.В России разработали дронов-полицейских с перцовым баллончиком и громкоговорителем.24 Февраля
15:46
246
0
0
Понравилась новость - смело поделись ею в любимой соц. сети
Новости по тегам
Старый шахтёрский фонарь работающий на карбиде!
Мы живём в киберпанковской антиутопии?
Корейский инженер превратил университетский туалет в энергоустановку. Она генерирует криптовалюту
Популярные новости
Переживал за зайца как за родного!
Работа на свежем воздухе
Подборка интересных фактов
Комментарии 2
moneyfest 24 февраля в 15:59
| Рейтинг :
514 0
0
Копировать ссылку в буфер:
Copy
Заявление типа "изобрели трактор с прицепом".
На крупный дрон спокойно крепится произвольный набор навесного оборудования. Огнетушитель, спас-жилет с линем, малокалиберное оружие, матюгальник. Только пичка какая-то ваще левая. 3
Rustat 24 февраля в 16:18
| Рейтинг :
7K+ 0
0
Копировать ссылку в буфер:
Copy
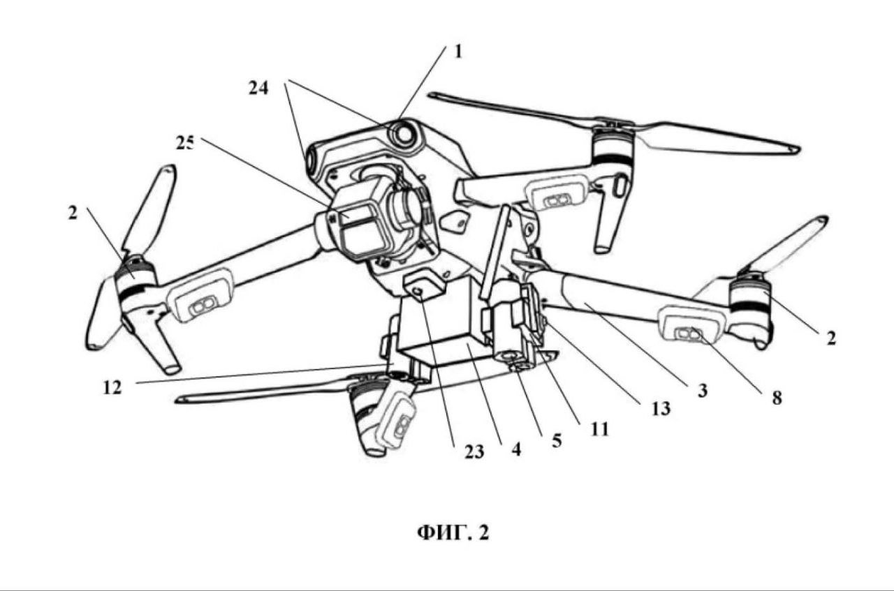
ФИГ 2 хорошо придумали
4
Iodz 24 февраля в 16:42
| Рейтинг :
46K+ 1
0
Копировать ссылку в буфер:
Copy
А решить вопрос на месте за батарейку с этой штукой можно?
5
Козложоп 24 февраля в 18:06
| Рейтинг :
3K+ 0
0
Копировать ссылку в буфер:
Copy
Добро пожаловать в Сити 17, Гордон.
6
SARIK75 24 февраля в 18:46
| Рейтинг :
1K+ 0
0
Копировать ссылку в буфер:
Copy
Разработчики заявляют, ...но очинь скромна умалчивают, на каком этапе разработки, этай китайскай херни, под брэндом "аналлоговнетый импартазаминитель", будит рздербанен ачиридной ахулиард мильйонав казёных деняг..и да, очинь нужная весчь.. нипанятна, как без ниё раньшэ жыли.. типерь, точна, всё наладица..
Kotoo 24 февраля в 18:49
| Рейтинг :
3K+ 0
0
Копировать ссылку в буфер:
Copy
Хорошо, что хоть там пока ещё только перцовка, а не огнемёты. У нас же власть настолько любит свой народ, что могут пойти и не на такое!
SARIK75 24 февраля в 19:00
| Рейтинг :
1K+ 0
0
Копировать ссылку в буфер:
Copy
ни факт.. ни так и сложна к баллону са спрэем добавить гарящий фитилёк или пьезаэлимент..
Добавить комментарий
Только зарегистрированные пользователи могут добавлять комментарии. Вам следует Зарегистрироваться или Войти.
|
|

ЧЕРНОЕ ЗЕРКАЛО s04e05 — Metalhead